ГЛАВНАЯ АВТО-МОТО -РАДИО- ОРГТЕХ ДЕНЬГИ ИДЕЙКА ДЛЯ ТЕЛА ДЛЯ ДЕЛА ДЛЯ ДОМА ВСЯЧИНА
 

КАСКОДНЫЙ ШИРОКОПОЛОСНЫЙ УСИЛИТЕЛЬ МОЩНОСТИ

А. ВЕНГЕР, В. ЯЩЕНКО (UB5LBZ)
г. Харьков

При создании транзисторных KB передатчиков радиолюбители сталкиваются с трудностями конструирования диапазонных усилителей мощности. Если применить обычные резонансные усилители, для получения выходной мощности 1—1.5 Вт (при входной 0,3—0,6 мВт) потребуется несколько каскадов, которые необходимо коммутировать. Использование каскодных широкополосных усилителей с дроссельной нагрузкой на многоэмиттерных транзисторах позволяет значительно упростить схему усилителя и дает возможность получить высокий коэффициент усиления.

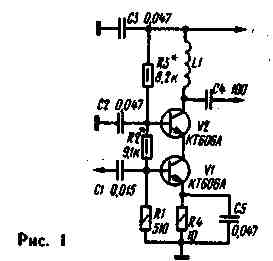
На рис. 1 изображена схема такого усилителя. Он имеет коэффициент усиления по мощности до 16 дБ в диапазоне частот от 3 до 35 МГц при неравномерности не более 2,5 дБ. Выходная мощность определялась измерителем мощности МЗ-ЗА, имеющим входное сопротивление 75 Ом.

us_mo1.jpg

>Усилитель работает в режиме класса А. Начальный ток (80—90 мА) устанавливают подбором резисторов R2. R3. В точке соединения коллектора транзистора VI с эмиттером транзистора V2 напряжение должно составлять от половины до двух третей напряжения питания Uк. Термостабилизация осуществляется с помощью цепочки R4, С5. Если усилитель будет эксплуатироваться при постоянной температуре (работа в помещении), то ее применение не обязательно. При отсутствии цепочки выходная мощность несколько возрастает.

Усилитель может работать также в классе АВ, для чего начальный ток подбором резисторов R2, R3 уменьшают до 20—30 мА, однако коэффициент усиления по мощности при этом падает.

Следует также отметить, что дан-ный усилитель может работать на час-тотах до 300 МГц, однако уже на 250 МГц его коэффициент усиления падает до 10 дБ.

В усилителе применялся фабричный дроссель L1 типа Д-0,12 индуктивностью 43 мкГ. однако его можно заменить самодельным. В случае использования на высоких частотах (выше 100 МГц) дроссель можно намотать на резисторах МЛТ-0,5 сопротивлением больше 1 кОм проводом ПЭВ-2 0,2 виток к витку до заполнения.

us_mo2.jpg

Лучшие результаты могут быть получены при использовании в качестве нагрузки трансформаторов с коротко-замкнутым объемным витком. Схема включения трансформаторов приведена на рис. 2, чертеж трансформаторов — на рис. 3. Связь между их магнитными потоками осуществляется короткозамкнутым объемным витком. выполненным в виде стержня, припаянного к крышкам латунного цилиндра. Каждая из обмоток намотана на

us_mo3.jpg

сердечнике типоразмера К10х6х3 из феррита марки 1000НМ-9. Обмотка трансформатора Т1 содержит 12 витков провода ПЭВ-2 0,31, трансформа тора Т2 — 5—7 витков провода ПЭВ-2 0,64. Корпус трансформатора соединяют с общим проводом. Зависимость выходной мощности от входной для второго усилителя показана на рис. 4, а зависимость максимальной выходной мощности от величины коллекторного напряжения при неизменной входной мощности — на рис.5. Хорошие результаты были получены

us_mo4.jpg

при усилении однополосного сигнала. Следует отметить, что при применении более мощных транзисторов, например КТ904, усилитель при выходной мощности (Рвых>2 Вт) склонен к самовозбуждению, однако при снижении коэффициента усиления работает вполне устойчиво.

РАДИО 3/78, c.24

около политическое и прочее техническое бредово -аналитическое

Инвестиции в экономику Волгограда или город глазами аборигена
Бизнес изнутри. Обобщение пути к "диким денегам"
 
страна выгодных уродов
ПОПОЛНЕНИЕ СЛЕДУЕТ
СМОТРИ РЕКЛАМУ
 
 
 
 
 
 
Кое какие ссылки

пока нет

 
 
 
ГЛАВНАЯ АВТО-МОТО -РАДИО- ОРГТЕХ ДЕНЬГИ ИДЕЙКА ДЛЯ ТЕЛА ДЛЯ ДЕЛА ДЛЯ ДОМА ВСЯЧИНА
Используются технологии uCoz